中國優秀民營教具品牌格林熊:持續追求科技創新,低調支持公益事業
發布時間:2024-07-15 16:03:19 | 來源:中國網 | 作者: | 責任編輯:趙茜過去十余年時間民營經濟占全國GDP的比重由不到50%升至60%以上,民營經濟作為中國市場經濟的重要組成部分,對于推動經濟增長、促進就業、增強創新能力等方面具有不可替代的作用。中國社會科學網透露:民營企業科技創新能力持續增強,截至2021年底國家級專精特新“小巨人”企業達到4762家,其中民營企業占比超過80%,中國民營企業持續加大科研投入,將推動中國的經濟、科技、教育高質量發展。
在當前國內外經濟形勢復雜多變的背景下,如何進一步激發民營經濟的活力,助力高質量發展尤為重要。今天帶大家來了解一家非常有潛力的國際化民營教具品牌—格林熊。

(格林熊STEAM建構教室效果圖)
上?;塾捉逃萍加邢薰境闪⒂?015年,是一家集自主研發生產、銷售培訓服務、產品代理為一體,以讓每個孩子快樂成長為宗旨的民營教育科技企業?,F擁有上海銷售服務中心、上海產品研發中心、江西倉儲生產基地、杭州教研中心、美國技術研發中心。上?;塾捉逃萍加邢薰酒煜潞诵钠放剖歉窳中?。經過多年的務實發展,格林熊已經擁有野戰、軍事體育、STEAM趣玩大拼板、STEAM建構、STEAM芝士軌道、STEAM建構教室、光影實驗、STEAM沙水等系列的優質產品,產品的品類和創意持續增強,成為了很多國內優質幼兒園重點選擇產品之一。

(格林熊品牌上??偛浚?/p>
小編從格林熊的微信公眾號獲知,上?;塾捉逃萍加邢薰酒煜缕放啤案窳中蹽LYNSSO”致力于將世界教育帶給中國孩子,我們整合國內外學前教育資源,將世界先進的教學理念與我國傳統教育理念結合,自主創新開發對中國孩子有益的幼教產品?!案窳中蹽LYNSSO”始終立足于長期可持續發展,著眼于每位經銷商在未來繼續保持互利互惠的友好合作關系,我們用優質的產品與服務幫助我們的合作經銷商朋友獲得最大的成功。至今格林熊已經與近3000+經銷商伙伴達成“優質聯盟”的合作,并協助合作伙伴服務近3w+園所,覆蓋600w+兒童。經過多年堅持不懈的努力格林熊已經成為了國內優秀教具品牌。

(上?;塾捉逃萍加邢薰镜钠煜律虡撕蛯@?/p>

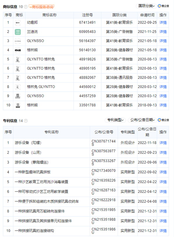
(上?;塾捉逃萍加邢薰緭碛?0個商標和14個專利)
經過八年的腳踏實地發展上?;塾捉逃萍加邢薰疽呀洆碛懈窳中?、幼趣邦、蘭迪說等11個商標品牌和游樂設備(陀螺)、游樂設備(山洞)、一種可移動式沙藝工坊用教學裝置、一種新型趣味玩具拼板等14個專利?;塾捉逃萍紝W⒂诮逃萍嫉难邪l、創新,追求給中國孩子帶來世界先進的教育理念和優質的教育玩具產品。

(格林熊品牌創始人曾仁建先生在美國亞利桑那州立大學留學照片)
上海民營企業家、上?;塾捉逃萍加邢薰綜EO、格林熊品牌創始人曾仁建先生,畢業于全美規模最大的公立研究型大學之一的美國亞利桑那州立大學教育學碩士(該校連續6年被《美國新聞與世界報道》評為最具創新力大學)。多年的合作伙伴們都知道,作為格林熊品牌的創始人、團隊的一家之長、企業的掌舵人,他被大家親切地稱“老曾”或英文名“蘭迪”。曾總在大學期間就開始創業,是一位連續創業者;在他引領下,上?;塾捉逃萍际冀K致力于研發出符合兒童成長特點、安全可靠的產品。逐漸在市場上樹立起了良好的口碑和品牌形象。

(格林熊品牌創始人曾仁建先生在品牌新產品發布現場與外國友人合影留念)
選擇教育行業,也是源于格林熊創始人曾總對兒童教育的深切關注和對市場需求的敏銳洞察。他希望通過自己的努力,將世界教育帶給中國孩子,推動中國教育高質量發展。

(格林熊品牌關愛藏族聚居區兒童公益行)
格林熊作為國內優秀的教具品牌不僅專注于教育科技產業的發展,而且低調地支持公益慈善事業。據格林熊品牌部透露:今年4月格林熊品牌創始人、上?;塾捉逃萍加邢薰綜EO曾仁建先生自駕5000多公里到西藏為山區兩所幼兒園的幾十名孩子送上精美的科教玩具,實際行動奉獻上海民營企業家的責任和擔當,體現了民營企業家的正能量和大愛。作為國際化的民營教具品牌格林熊將積極號召行業企業家一起,每年定期為貧困山區孩子貢獻微薄力量。中國的民營企業不僅是中國經濟增長、稅收、外貿的主力軍,也是中國公益事業的重要支持力量。
最后,在嚴峻復雜的經濟環境下期待中國民營經濟厚積薄發、逆勢前行,拭目以待。